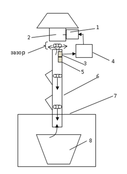
С этой целью девочки сконструировали устройство, которое можно вмонтировать в мусоропровод: при движении оно дезинфицирует и дезинсектирует всю систему, после этого включается датчик, который определяет содержание газа. Частота дезинфекции зависит от объема мусоропровода.

Коммунальщики оценили идею школьниц, но отметили, что конструкцию следует сделать более герметичной и предусмотреть контроль подачи озона.
После этого устройство можно будет использовать для содержания мусоропроводов в чистоте.










